易造新聞
配電箱浪涌保護器安裝在什么位置-查看詳情【杭州易造】
浪涌保護器能夠及時地將侵入電力系統的雷電浪涌及時泄放掉,使整個線路的電位保持一致,所以也有人叫它等電位連接器。但是有些用戶購買了浪涌保護器后,卻碰到那么一個問題:我應該將配電箱浪涌保護器安裝在內的什么位置呢?今天,小編就來給您講講浪涌保護器在配電箱內的安裝問題。
配電箱通常配有空氣開關來控制電源對負載的供電,通常情況下,除了進線總空開,還會在后續負載支路上配分空開。
因此,根據安裝情況和供電情況,我們可以將空開的兩端分為電源側和負載側。顧名思義,如果空開的一側接的電源那就是電源側,如果接負載那就是負載側。對于總空開來說,它的兩側都沒有直接連接負載,因此都是電源側,而分空開則不同,有電源側和負載側。

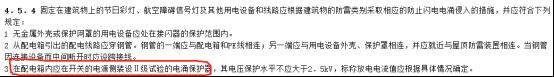
了解了電源側和負載側后,下面我們來了解浪涌保護器在配電箱內的安裝問題。GB50057的4.5.4中明確規定,浪涌保護器應當安裝在開關的電源側,因此通常情況下,我們可以選擇安裝在進線總空開的前端或后端。但是實際安裝還要根據現場具體情況而定,比如配電箱內沒有裝分空開或其他特殊情況,那樣總空開的前端是電源側,后端就是負載側。

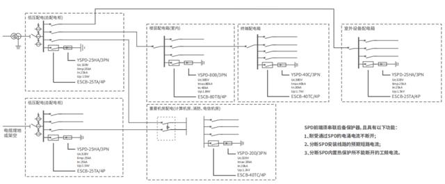
例如易造的一位客戶,在設計小區內節日彩燈輸電線路配電箱方案時,遇到了特殊情況:小區的節日彩燈雖然有配分空開,但是平時不經常去用,大部分時間處于斷開狀態,只在一些特殊的節日才開啟。

對于這種情況而言,主空開就成了配電箱的唯一開關。那樣主空開的左側就是電源側,右側就是負載側,因此浪涌保護器就需要安裝在主空開左側的進線端了。

以上的情況,您有碰到過嗎?總之,不論哪種情況,只需了解電源側和負載側如何區分,并遵循國標對浪涌保護器安裝位置的規定,浪涌保護器安裝在配電箱內什么位置的問題就能迎刃而解了。
-End-
易造復合型浪涌保護器,20年設計壽命,小體積大通流,低殘壓、高TOV耐受1800V;MG串聯技術,0漏流0續流;密封型結構無外泄電弧,不起火。
易造電涌保護器采用鏈式放電技術,實現了SPD的能量自動協調功能,安裝時無需考慮兩級SPD間的距離,第二級SPD可以直接安裝于第一級SPD后端,安裝更方便!
易造浪涌保護器外殼采用PA66高阻燃絕緣材料,符合UL94V-0 RoHS REACH,一體化設計防震防潮耐高溫,易造電涌保護器廣泛應用于電力、新能源、通訊、建筑、軌道交通、石油石化等多個領域。
杭州易造是浙江省科技型企業,高品質防雷設備生產廠家,擁有全套風電浪涌保護器生產技術。主要生產一級浪涌保護器、二級浪涌保護器、三級電涌保護器、信號防雷器、直流防雷器、風電浪涌保護器等全系列防雷模塊,產品通過了UL、CSA、TUV、CQC、CE等權威認證,1500+規格型號,可滿足所有低壓設備的電涌防護要求。
相關文章:
聯系易造
聯系易造
CONTACT EYZAO
咨詢熱線:133-8651-1449
固定電話:0571-89721333
公司郵箱: eyzao@eyzao.com
營銷中心:浙江省杭州市蕭山區錢江世紀城寧一路9號
我要留言
LEAVE A MESSAGE
推薦產品
產品資訊MORE
怎么判斷是不是雷電預警系統研發公司?認準以下四點不出錯!【易造防雷】…
2022.12.02
2023.05.27
2023.08.17
2022.03.04
2023.01.24
沒有雷電預警的防雷系統是不完整的!-點擊查看詳情-易造防雷…
2023.12.16
2022.04.27
盤點長陽雷電預警系統公司哪家好?99%人都不知道【易造防雷】…
2022.11.11
第二類防雷建筑物的防雷接地措施有哪些?工程人員值得收藏【易造防雷】…
2022.12.21
2022.12.06
用戶評論
我要評論






